
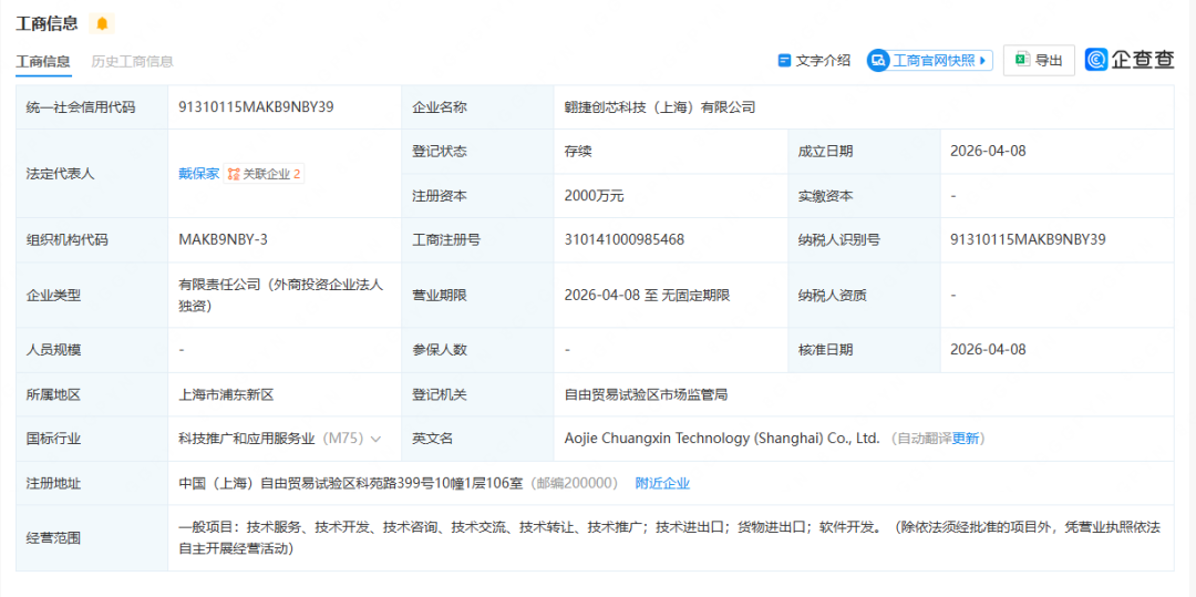
近日,企查查数据裸露体育游戏app平台,翱捷创芯科技(上海)有限公司(下称“翱捷创芯”)负责完成注册配置,注册本钱2000万元,由翱捷科技股份有限公司(下称“翱捷科技”,688220.SH)100%全资控股,这家国内基带芯片龙头企业在业务拓展与资源整合上又迈出迫切一步。
动作国内惟一主营蜂窝物联网基带芯片的上市公司,翱捷科技这次新设子公司,笔者合计并非是粗造的业务延迟,而是基于自己时刻积贮与行业趋势,对时刻买卖化、国际化布局的战术加码,展示其牢固中枢上风、霸占产业新机遇的深层考量。

从注册信息来看,翱捷创芯的注册地址坐落于上海张江,与翱捷科技总部同处一幢楼宇,这一布局并非随机。
上海张江动作国内半导体产业的中枢会聚区,汇聚了大宗芯片研发、制造、哄骗关联的企业与东说念主才,产业生态完善,政策维持力度满盈。翱捷创芯选址于此,既能依托总部的时刻、东说念主才资源达成高效协同,又能深度融入张江的产业生态,简单对接高卑劣配联合伴,为后续业务开展奠定坚实基础。
要承接翱捷科技这次布局的战术真谛真谛,开始需回望其自己的中枢实力与行业地位。
成立于2015年4月的翱捷科技,是一家专注于无线通讯、超大界限芯片研发与想象的平台型企业,历程十余年的深耕,已在公共芯片领域占据迫切弹丸之地。现在,公司在北京、南京、深圳、合肥等国内多个中枢城市,以及好意思国、意大利等国际地区设有研发和维持中心,构建起遮掩公共的研发与管事收集,研发东说念主员占比高达90%独揽,其中硕士及以上学历占比逾越70%,厚实且高修养的研发团队成为当时刻改动的中枢撑持。

在时刻层面,翱捷科技领有国内稀缺、公共最初的2G-5G全制式蜂窝基带时刻,这一时刻涵盖信号处理、高性能模拟/射频电路、通讯合同栈、低功耗电路想象等多个中枢领域,是芯片想象领域时刻壁垒最高、最难掌持的时刻之一,现在公共范围内仅有高通、联发科、紫光展锐、华为海念念等少量数企业具备该时刻才气。与竞争敌手比拟,翱捷科技动作原土芯片供应商,在属地化管事上具备权贵上风,大致快速反应国内终局厂商的需求,为华为、小米、VIVO、OPPO等国内头部终局企业提供更具针对性的芯片惩办决议,同期其中枢团队源自MARVELL等行业闻名企业,时刻才气与研发效力上风越过。

除了中枢的蜂窝基带时刻,翱捷科技还构建了完善的时刻布局,涵盖丰富的非蜂窝物联网时刻,具备多合同非蜂窝物联网芯片想象与供货才气,同期可提供超大界限高速SoC芯片定制及半导体IP授权管事,变成了“蜂窝通讯+非蜂窝物联网+SoC定制+IP授权”的多元产物矩阵。适度2025年底,公司累计芯片出货量逾越16亿颗,累计量产全新芯片逾越100颗,2018年至2025年营收年复合增长率高达64.84%,累计获取发明专利188项,时刻实力与商场界限均达成稳步升迁。2022年,翱捷科技在上海证券交游所科创板收效上市,成为国内A股商场惟一的基带芯片上市公司,进一步牢固了其在行业内的最初地位。

财务进展与业务进展的连接向好,为翱捷科技的战术布局提供了坚实撑持。
2025年年报裸露,公司全年达成营业收入38.17亿元,同比增长12.73%;包摄于母公司悉数者的净利润为-3.90亿元(洽商公开财报修正),逝世额较上年同期减少3.03亿元;包摄于母公司悉数者的扣除非平常性损益的净利润为-5.79亿元,逝世额同比减少1.28亿元,各项利润计算均达成显着改善。这一成绩的取得,收货于公司“提质增效重答复”专项行径的连接鼓动,一方面,公司束缚完善产物布局、拓宽卑劣哄骗场景,芯片出货量同比增幅逾越40%,灵验带动营收增长;另一方面,公司连接优化成本结构,受益于毛利界限升迁、股份支付用度着落及降费增效表率的落地,盈利质料连接改善。
研发干预的连接加码,是翱捷科技保持时刻最初的要津。
2025年,公司全年研发用度约13.02亿元,同比增长4.81%独揽,连接久了产物时刻布局与智能SoC芯片平台开发。从业务细分来看,2025年前三季度,蜂窝基带芯片成为功绩增长的中枢驱能源,该板块收入同比增长约25%,毛利总数同比增长逾越50%,盈利才气权贵升迁;尽管芯片定制及IP授权业务因名堂周期长、收入阐明滞后,前三季度收入同比着落逾越60%,但公司在手订单满盈,展望2026年跟着多个名堂的验收拜托,该业务将达成大幅增长,成为公司功绩的新增长点。
在产物落地与商场拓展方面,翱捷科技2025年在多个要津领域达成紧要冲破,为后续发展注入强盛能源。在4G领域,公司4G八核智高东说念主机芯片于上半年收效导入客户,首款客户机型于畴昔三季度胜利上市;4G Cat.1领域,产物决议已进入挪动支付终局场景,在电动两轮车领域被雅迪、爱玛等头部品牌禁受,国际商场也已遮掩章度、东南亚等区域,Cat.1主芯片出货量同比增长近50%;4G Cat.4领域,产物在电力、MBB、车联网等场景达成界限化出货,获取商场凡俗认同。在5G领域,5G RedCap芯片ASR1901平台已进入界限化量产阶段,在印尼达成5G FWA商用部署,同期ASR1903系列产物通过三大运营商认证,30余款模组及产物进入送样测试或商用阶段;首款6nm 5G 8核芯片已进入研发后期,展望2026年下半年开动客户导入。
智能SoC芯片领域,公司布局成效雷同越过。翱捷科技已搭建起遮掩4G到5G、从初学级到中高端的多眉目智能SoC产物矩阵,推出搭载20 TOPS疏淡NPU的高性能SoC惩办决议,连接鼓动端侧AI才气界限化落地。产物迭代与商场落地稳步鼓动,首款4G四核智能SoC芯片累计出货量冲破500万颗;熟练量产的4G八核智能SoC,已凡俗哄骗于智高东说念主机、车载终局、智能平板等终局开发。第二代4G八核智能SoC进展胜利,6nm制程的ASR8861已负责发布,可适配主流大模子端侧部署;自研首颗5G八核智能SoC已完成回片,各项测试有序鼓动,具备先进5G-A通讯才气与高性能AI算力。2026年3月,在巴塞罗那举办的MWC全国挪动通讯大会上,翱捷科技靠拢发布多款全新芯片产物,包含6nm高性能4G八核智能SoC ASR8861,产物疆土全面遮掩5G、RedCap、4G、AI SoC各大哄骗场景,靠拢展现自己完好的时刻储备与生态化改动后果。
值得瞩成见是,刻下物联网蜂窝基带芯片商场仍处于充分竞争景况,竞争重心靠拢在产物厚实性、拜托才气、功耗/集成度、场景适配与管事等方面,价钱还是迫切竞争技能。在此布景下,翱捷科技2026年明确了三大发展标的:牢固蜂窝物联网上风,鼓动ASR1901平台界限化商用及下一代5G芯片平台研发;鼓动智高东说念主机SoC芯片商场布局,完善产物矩阵;拓展智能开发SoC哄骗商场。这次配置翱捷创芯,恰是公司落实这一战术的迫切举措,通过整合时刻、东说念主才资源,加速时刻买卖化程度,同期搭开国际化平台,应付公共商场竞争。
从行业趋势来看,跟着5G、物联网、AI等时刻的深度交融,芯片动作中枢元器件的需求连接攀升,尤其是基带芯片、智能SoC芯片等领域,商场空间浩繁。动作国内基带芯片领域的领军企业,翱捷科技凭借全制式蜂窝基带时刻上风、完善的产物矩阵及连接的研发改动,已在公共商场占据弹丸之地。这次新设全资子公司,进一步优化了公司的业务布局,升迁了时刻转换与商场拓展才气。

适度2026年4月9日,翱捷科技股价报72.20元,总市值达302.01亿元体育游戏app平台,尽管近一年股价有所波动,但公司的中枢时刻实力与长期发展后劲获取商场认同。明天,跟着翱捷创芯业务的渐渐落地,以及公司在5G、AI SoC等领域的连接冲破,翱捷科技有望进一步消弱与国际巨头的差距,牢固国内商场最初地位,同期加速公共化布局,在公共芯片产业竞争中占据更成心位置,为国内半导体产业的自主可控发展注入新的能源。